Например TDA7294

Форум РадиоКот • Просмотр темы - Собираю приёмники/передатчики/другие "частотные" схемы
Форум РадиоКот
Здесь можно немножко помяукать :)

Текущее время: Сб дек 13, 2025 14:47:45

Часовой пояс: UTC + 3 часа


ПРЯМО СЕЙЧАС:



Начать новую тему Ответить на тему  [ Сообщений: 4434 ]     ... , , , 220, ,  
Автор Сообщение
Не в сети
 Заголовок сообщения: Re: Собираю приёмники/передатчики/другие "частотные" схемы
СообщениеДобавлено: Ср авг 02, 2023 20:57:29 
Говорящий с текстолитом
Аватар пользователя

Зарегистрирован: Сб апр 17, 2021 12:24:15
Сообщений: 1521
Откуда: Украина
Рейтинг сообщения: 0
Шарманку распаял, делаю низковольтную схему...

Паяю на кварце 4,5МГц, других не было, а ещё 4,5 ловит мой приёмник.

Генератор уже спаял - работает, ровно 4,5МГц, поймал на приёмнике.

Сейчас паяю каскад на КТ646...


Вернуться наверх
 
Не в сети
 Заголовок сообщения: Re: Собираю приёмники/передатчики/другие "частотные" схемы
СообщениеДобавлено: Ср авг 02, 2023 22:42:14 
Друг Кота
Аватар пользователя

Карма: 72
Рейтинг сообщений: 1153
Зарегистрирован: Чт ноя 20, 2008 04:20:48
Сообщений: 8079
Откуда: КурскЪ
Рейтинг сообщения: 0
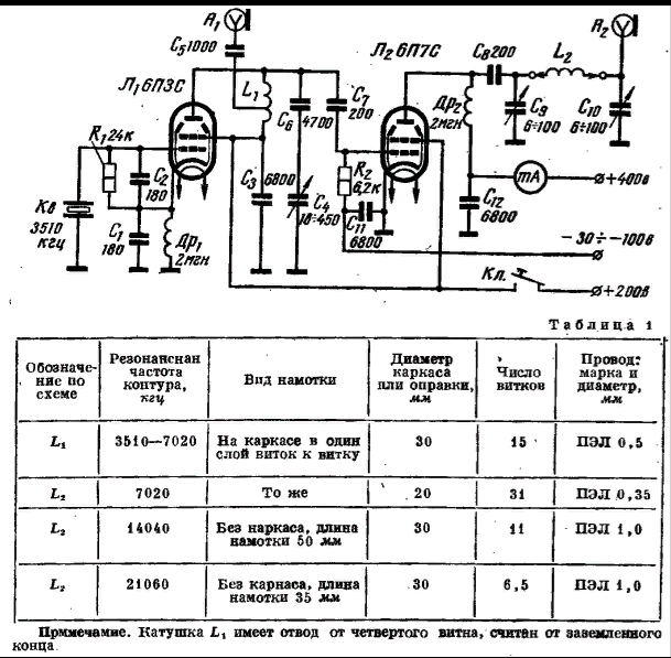
Вставляй кварц,подстраивай контура на 4.5мгц и будет тебе счастье.Останется модуляцию завести в выходной каскад.Л1 6Ж5П,Л2 6П3С.
Изображение

_________________
Принимаю вас 595+40db на уровне шумов на кухонный приёмник,антенна наружка-магнитная катушка..работает "Акация",вот такая информация.Роман.73!!!
"50 КСВ 075", UA3112SWL
Изображение


Вернуться наверх
 
Не в сети
 Заголовок сообщения: Re: Собираю приёмники/передатчики/другие "частотные" схемы
СообщениеДобавлено: Чт авг 03, 2023 11:37:37 
Говорящий с текстолитом
Аватар пользователя

Зарегистрирован: Сб апр 17, 2021 12:24:15
Сообщений: 1521
Откуда: Украина
Рейтинг сообщения: 0
Я уже спаял на транзисторах.

Спаял последний каскад на IRF510, на лампочку работал отлично.
Но как подключил антенну с LC цепочками согласования - пробило сток-исток.

Подключил тот-же вход на антенну (с LC) к коллектору КТ646. Лампочка еле видно светит.

На приёмнике модуляцию слышно очень плохо. Очень сильный шум 50Гц. Видимо, антенна слабо работает, ведь когда дотрагиваюсь рукой антенного провода, сигнал улучшается (приёмник стоит рядом с передатчиком)

Возможно, сегодня видео запишу...


Вернуться наверх
 
Не в сети
 Заголовок сообщения: Re: Собираю приёмники/передатчики/другие "частотные" схемы
СообщениеДобавлено: Чт авг 03, 2023 13:25:16 
Друг Кота

Карма: 49
Рейтинг сообщений: 547
Зарегистрирован: Чт фев 20, 2014 18:57:55
Сообщений: 19492
Рейтинг сообщения: 0
Соседнюю тему читали про фон ?

Но как подключил антенну с LC цепочками согласования - пробило сток-исток.

ага. если антенна не согласована или вообще антенны нет, то амплитуда на стоке сильно выше, чем с нормальной нагрузкой. можете туда резистор безындукционный повесть через емкость, такой чтобы и мощность не сильно поджирал и в то же время нагружал каскад, любители так иногда делают, а еще диоды/стабилитроны ставят для ограничения, ксв метр по сигналу с которого усилитель отключается и т.п. ну или можно просто не втыкать кривую антенну или транзистор найти с конским запасом )

_________________
"Вся военная пропаганда, все крики, ложь и ненависть исходят от людей, которые на эту войну не пойдут !" / Джордж Оруэлл /
"Война - это,когда за интересы других,гибнут совершенно безвинные люди." / Уинстон Черчилль /


Вернуться наверх
 
Эиком - электронные компоненты и радиодетали
Не в сети
 Заголовок сообщения: Re: Собираю приёмники/передатчики/другие "частотные" схемы
СообщениеДобавлено: Чт авг 03, 2023 14:10:46 
Друг Кота

Карма: -1
Рейтинг сообщений: 85
Зарегистрирован: Вт мар 13, 2012 12:16:13
Сообщений: 8867
Откуда: .ru
Рейтинг сообщения: 0
с конским запасом )
в советской рации транзюк кт913 на 5 ватт выдаёт 0,5 ватт ))
вот это я понимаю запас ! )))


Вернуться наверх
 
Не в сети
 Заголовок сообщения: Re: Собираю приёмники/передатчики/другие "частотные" схемы
СообщениеДобавлено: Чт авг 03, 2023 15:08:38 
Друг Кота

Карма: 49
Рейтинг сообщений: 547
Зарегистрирован: Чт фев 20, 2014 18:57:55
Сообщений: 19492
Рейтинг сообщения: 0
Ну китайцы продают сейчас всякое бу СВЧ ватт на 100-200 недорого, тоже можно 20 снять ) главное затвор не убить ) но дешевые irf тоже вариант, можно под него панельку сделать для быстрой замены )

Все эти защиты по отдельности описаны, а может и вместе где то есть в темах про киловаттные транзисторные усилители, но конструкция немного монструозная будет для усилителя на десятки ватт )

_________________
"Вся военная пропаганда, все крики, ложь и ненависть исходят от людей, которые на эту войну не пойдут !" / Джордж Оруэлл /
"Война - это,когда за интересы других,гибнут совершенно безвинные люди." / Уинстон Черчилль /


Вернуться наверх
 
Не в сети
 Заголовок сообщения: Re: Собираю приёмники/передатчики/другие "частотные" схемы
СообщениеДобавлено: Чт авг 03, 2023 18:39:50 
Друг Кота
Аватар пользователя

Карма: 72
Рейтинг сообщений: 1153
Зарегистрирован: Чт ноя 20, 2008 04:20:48
Сообщений: 8079
Откуда: КурскЪ
Рейтинг сообщения: 0
Ирф510 хреново работают на 27мгц.Особенно китайские перемаркированные.
Во вторых при настройке ВКС надо снижать питающее напряжние выходного каскада,а после настройки увеличивать до номинального.И еще раз подстроить ВКС по максимуму ВЧ напряжениия на нагрузке.
И по какой схеме собрал.

_________________
Принимаю вас 595+40db на уровне шумов на кухонный приёмник,антенна наружка-магнитная катушка..работает "Акация",вот такая информация.Роман.73!!!
"50 КСВ 075", UA3112SWL
Изображение


Вернуться наверх
 
Не в сети
 Заголовок сообщения: Re: Собираю приёмники/передатчики/другие "частотные" схемы
СообщениеДобавлено: Пт авг 04, 2023 06:58:55 
Друг Кота

Карма: 49
Рейтинг сообщений: 547
Зарегистрирован: Чт фев 20, 2014 18:57:55
Сообщений: 19492
Рейтинг сообщения: 0
Вроде уже не 27. Может пора наноВНА поискать и поэкспериментировать с согласующими ? Почему бы с этой стороны не зайти - согласовать заранее и подключить уже согласованную антенну, раньше дешевых приборов подобных не было вот и не делали так.

_________________
"Вся военная пропаганда, все крики, ложь и ненависть исходят от людей, которые на эту войну не пойдут !" / Джордж Оруэлл /
"Война - это,когда за интересы других,гибнут совершенно безвинные люди." / Уинстон Черчилль /


Вернуться наверх
 
Не в сети
 Заголовок сообщения: Re: Собираю приёмники/передатчики/другие "частотные" схемы
СообщениеДобавлено: Сб авг 05, 2023 15:56:38 
Говорящий с текстолитом
Аватар пользователя

Зарегистрирован: Сб апр 17, 2021 12:24:15
Сообщений: 1521
Откуда: Украина
Рейтинг сообщения: 0
В гараже были найдены радиокерамические каркасы для ВЧ + с уже намотанной посеребрённой медью.

Пойду щас куплю новый IRF510 и попробую согласовать на антенну с пониженным напряжением питания и нагрузкой (у меня теперь есть ЛАТР).


Вернуться наверх
 
Не в сети
 Заголовок сообщения: Re: Собираю приёмники/передатчики/другие "частотные" схемы
СообщениеДобавлено: Сб авг 05, 2023 18:54:16 
Друг Кота
Аватар пользователя

Карма: 72
Рейтинг сообщений: 1153
Зарегистрирован: Чт ноя 20, 2008 04:20:48
Сообщений: 8079
Откуда: КурскЪ
Рейтинг сообщения: 0
Схему выложи,не понятно что ты там делаешь)))

_________________
Принимаю вас 595+40db на уровне шумов на кухонный приёмник,антенна наружка-магнитная катушка..работает "Акация",вот такая информация.Роман.73!!!
"50 КСВ 075", UA3112SWL
Изображение


Вернуться наверх
 
Не в сети
 Заголовок сообщения: Re: Собираю приёмники/передатчики/другие "частотные" схемы
СообщениеДобавлено: Ср авг 09, 2023 23:45:13 
Говорящий с текстолитом
Аватар пользователя

Зарегистрирован: Сб апр 17, 2021 12:24:15
Сообщений: 1521
Откуда: Украина
Рейтинг сообщения: 0
Схему выложи,не понятно что ты там делаешь)))


Ёмкостаня трёхточка, генератор, буфер на КТ646 с дросселем а коллекторе и смещением, в эметтере 50 Ом резистор и конденсатор для ВЧ, усилитель на IRF510 с обычным смещением на затвор через потенциометр и резистор 1КОм.

Впрочем, всё сломалось.

Первый IRF сгорел, я поставил другой и попробовал запитать от трансформатор питания с ЛАТРа, на 100-а вольтах схема издала звук и начали греться диоды питания - сгорел IRF, снова.

Припаял лампочку в цепь согласования, параллельно цепи, но через ёмкость. Тоже сгорел...

Полностью убрал цепь согласования, только лампочка. Сгорел...

Я полностью убрал УВЧ и обнаружил, что схема вообще не генерирует ВЧ сигнал.

Попробовал чуть поперепаивать - ничего.

Причём, первый IRF510 на лампочку работал отлично.
Всё это странно.

Щас откопал ещё один, попробую заново перепаять схему на новом текстолите (остатки того, на котором эта злополучная схема)

Потому-что в этой как-то запустить генератор мне не удаётся.

Есть видео работы этой схемы чисто на КТ646 в эфир, могу выложить.


Вернуться наверх
 
Не в сети
 Заголовок сообщения: Re: Собираю приёмники/передатчики/другие "частотные" схемы
СообщениеДобавлено: Ср авг 09, 2023 23:55:04 
Друг Кота

Карма: 49
Рейтинг сообщений: 547
Зарегистрирован: Чт фев 20, 2014 18:57:55
Сообщений: 19492
Рейтинг сообщения: 0
Первый IRF сгорел, я поставил другой и попробовал запитать от трансформатор питания с ЛАТРа, на 100-а вольтах схема издала звук и начали греться диоды питания - сгорел IRF, снова.

Можно поинтересоваться нахрена ? У него 100в предельное же, конечно он сгорел и 50 много будет для таких экспериментов :)))

_________________
"Вся военная пропаганда, все крики, ложь и ненависть исходят от людей, которые на эту войну не пойдут !" / Джордж Оруэлл /
"Война - это,когда за интересы других,гибнут совершенно безвинные люди." / Уинстон Черчилль /


Вернуться наверх
 
Не в сети
 Заголовок сообщения: Re: Собираю приёмники/передатчики/другие "частотные" схемы
СообщениеДобавлено: Ср авг 09, 2023 23:57:45 
Говорящий с текстолитом
Аватар пользователя

Зарегистрирован: Сб апр 17, 2021 12:24:15
Сообщений: 1521
Откуда: Украина
Рейтинг сообщения: 0
Цитата:
Можно поинтересоваться нахрена ? У него 100в предельное же,


Та не так, от ЛАТРа запитал трансформатор основной 220/12

То есть, 50В это примерно 2,5В питания


Вернуться наверх
 
Не в сети
 Заголовок сообщения: Re: Собираю приёмники/передатчики/другие "частотные" схемы
СообщениеДобавлено: Чт авг 10, 2023 00:08:48 
Друг Кота

Карма: 49
Рейтинг сообщений: 547
Зарегистрирован: Чт фев 20, 2014 18:57:55
Сообщений: 19492
Рейтинг сообщения: 0
Ааа )

Я полностью убрал УВЧ и обнаружил, что схема вообще не генерирует ВЧ сигнал.


Возбуд что ли опять ? Резистор в затворе низкоомный есть ?

_________________
"Вся военная пропаганда, все крики, ложь и ненависть исходят от людей, которые на эту войну не пойдут !" / Джордж Оруэлл /
"Война - это,когда за интересы других,гибнут совершенно безвинные люди." / Уинстон Черчилль /


Вернуться наверх
 
Не в сети
 Заголовок сообщения: Re: Собираю приёмники/передатчики/другие "частотные" схемы
СообщениеДобавлено: Чт авг 10, 2023 00:21:06 
Говорящий с текстолитом
Аватар пользователя

Зарегистрирован: Сб апр 17, 2021 12:24:15
Сообщений: 1521
Откуда: Украина
Рейтинг сообщения: 0
Цитата:
Резистор в затворе низкоомный есть ?


Нет... :facepalm:

Значит, в схеме версии 1.1 исправлю.
Благо, у меня много таких низколмных безиндуктивных.


Вернуться наверх
 
Не в сети
 Заголовок сообщения: Re: Собираю приёмники/передатчики/другие "частотные" схемы
СообщениеДобавлено: Чт авг 10, 2023 00:55:31 
Друг Кота
Аватар пользователя

Карма: 31
Рейтинг сообщений: 880
Зарегистрирован: Пт сен 10, 2021 15:19:36
Сообщений: 6109
Откуда: Протвино
Рейтинг сообщения: 0
зы если доступны irf610 - лучше их, и напряжение выше и 30++MHz ок.
в качестве защиты по напряжению можно неоновый стартер лампы дневного света (конденсатор оторвать крнечно), а в нормальном режиме нагрузки он вообще не ухудшает параметры.


Вернуться наверх
 
Не в сети
 Заголовок сообщения: Re: Собираю приёмники/передатчики/другие "частотные" схемы
СообщениеДобавлено: Чт авг 10, 2023 08:29:59 
Друг Кота

Карма: 49
Рейтинг сообщений: 547
Зарегистрирован: Чт фев 20, 2014 18:57:55
Сообщений: 19492
Рейтинг сообщения: 0
у них сопротивление открытого канала вроде похуже. для экспериментов может и неплохо, может не сгорит )

Цитата:
Резистор в затворе низкоомный есть ?

Нет... :facepalm:


а перед ним какая нибудь резонансная цепь еще в предыдущем каскаде, да ? :))

_________________
"Вся военная пропаганда, все крики, ложь и ненависть исходят от людей, которые на эту войну не пойдут !" / Джордж Оруэлл /
"Война - это,когда за интересы других,гибнут совершенно безвинные люди." / Уинстон Черчилль /


Вернуться наверх
 
Не в сети
 Заголовок сообщения: Re: Собираю приёмники/передатчики/другие "частотные" схемы
СообщениеДобавлено: Чт авг 10, 2023 11:20:23 
Говорящий с текстолитом
Аватар пользователя

Зарегистрирован: Сб апр 17, 2021 12:24:15
Сообщений: 1521
Откуда: Украина
Рейтинг сообщения: 0
Цитата:
а перед ним какая нибудь резонансная цепь еще в предыдущем каскаде, да ? :))


Только дроссель на феррите, компактный

Добавлено after 3 minutes 3 seconds:
Цитата:
зы если доступны irf610


У меня их навалом, пока-что...

Попробую сначала 610-й, тогда, поставить.

P.s. Отрыл свои старые работы на 27МГц... Так одна из них прекрасно работает на лампочку, на нормальной частоте.
Поменять сгоревший вертолёт и работать уже можно.


Вернуться наверх
 
Не в сети
 Заголовок сообщения: Re: Собираю приёмники/передатчики/другие "частотные" схемы
СообщениеДобавлено: Пн авг 14, 2023 18:37:11 
Вымогатель припоя
Аватар пользователя

Карма: 12
Рейтинг сообщений: 95
Зарегистрирован: Вс сен 08, 2013 21:36:22
Сообщений: 699
Откуда: 27.200 Мгц
Рейтинг сообщения: 0
А с чего он взял что у него антенна согласована с выходным каскадом? Выходной каскад с фидером?
IRF510 сейчас настоящие не найти. 720 ещё можно. Но тут без тестера транзисторов в магаз лучше не идти .

_________________
Пока сам себя не пнёшь с места не сдвинешься


Вернуться наверх
 
Не в сети
 Заголовок сообщения: Re: Собираю приёмники/передатчики/другие "частотные" схемы
СообщениеДобавлено: Ср дек 06, 2023 11:26:40 
Встал на лапы

Зарегистрирован: Вт июн 27, 2023 18:21:03
Сообщений: 129
Рейтинг сообщения: 0
Добрый день! Я собрал и запустил "Ванюшу". Как бы всё ок, но... ни хрена не понимаю, как он работает. Всё что нашёл в сети, это способы изготовления и доводки. Принцип нигде и никем не описан. У меня схема с pnp транзисторами и заземлённым контуром, типа такой: https://forum.cxem.net/uploads/monthly_ ... eef4ad.jpg

Помогите разобраться: как в этом приёмнике детектируется звуковая частота? Транзистор VT3, это усилитель, или детектор?


Вернуться наверх
 
Показать сообщения за:  Сортировать по:  Вернуться наверх
Начать новую тему Ответить на тему  [ Сообщений: 4434 ]     ... , , , 220, ,  

Часовой пояс: UTC + 3 часа


Кто сейчас на форуме

Сейчас этот форум просматривают: нет зарегистрированных пользователей и гости: 24


Вы не можете начинать темы
Вы не можете отвечать на сообщения
Вы не можете редактировать свои сообщения
Вы не можете удалять свои сообщения
Вы не можете добавлять вложения

Найти:
Перейти:  


Powered by phpBB © 2000, 2002, 2005, 2007 phpBB Group
Русская поддержка phpBB
Extended by Karma MOD © 2007—2012 m157y
Extended by Topic Tags MOD © 2012 m157y